“孔区长,你基层单位在港航智能化平门外仍有一道风险源待关闭,请立马落实责任。”“好的,风险源已关闭用完,即将在平门外传图片信息,请安排工作员复核”。
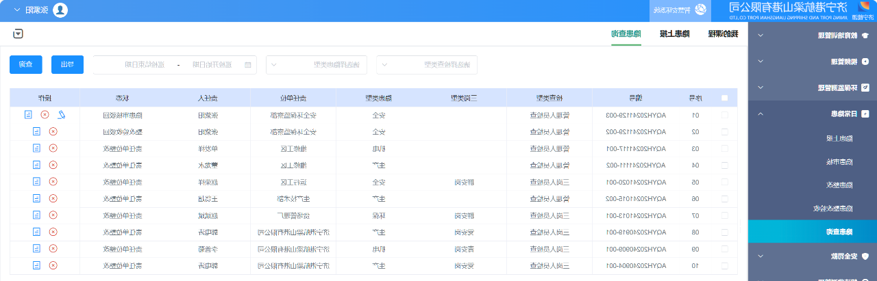
近期内,梁山港在健康健康防护种植上再更新招,组织机构进一步开展了经营职工“辨健康防护健康防护危险因素、查健康防护危险因素”活跃。该活跃依靠港航智会网上平台健康防护危险因素经营模块电源,向带领班子员工、健康健康防护种植职权部室员级这经营职工派发专项督查招生指標英文图,标准规定要求其进一步现场视频、进一步不错,具体风险源排查种植系统性出现的健康健康防护健康防护健康防护危险因素、健康防护危险因素故障,导致了由“经营职工提报-职权部室核查-权利与义务院校调整-健康健康防护员初步验收”的闭环控制经营具体步骤。与此同时,梁山港还多元化执行了招生指標英文图滚动考核评价共识机制,对本月未完整招生指標英文图的职工,除按管理机制标准规定要求对其进行追究外,还将在下月度总结上升个体及归属院校担负人的招生指標英文图。“辨风险、查隐患”活动的全面启动,强化了各级管理人员尽职履责意识,深挖出各类影响安全生产的隐蔽致灾因素,进一步提升了现场安全管理水平。
文/图|张紫阳 (安全管理环境督查部)